111家头部金融机构(银行、券商、保险)信息科技组织架构盘点

后台-系统设置-扩展变量-手机广告位-内容正文顶部
2022年初,人民银行印发  《金融科技发展规划(2022-2025年)》  《规划》提出,要深化数字技术金融应用,健全安全与效率并重的科技成果应用体制机制,不断壮大开放创新,合作共赢的产业生态,打通科技成果转化“最后一公里”。随后,银保监会发布《银行业保险业数字化转型的指导意见》,提到要  提高新技术应用和自主可控能力。  密切持续关注金融领域新技术发展和应用情况,提升快速安全应用新技术的能力。  鼓励有条件的银行保险机构组织专门力量,开展前沿技术研究,探索技术成果转化路径,培育金融数字技术生态。鼓励科技领先的银行保险机构向金融同业输出金融科技产品与服务。
 
2023年初,《深圳市金融科技专项发展规划(2023-2025年)》发布,据悉,深圳将围绕8项主要任务推动金融科技发展,包括推动金融科技机构高水平集聚;促进金融科技特色应用集中涌现;完善金融科技基础设施载体;支持金融科技技术研发应用;加强金融科技专业人才培养;健全金融科技投融资体系;加强金融科技风险防控;扩大金融科技开放合作。
 
近几年,随着金融科技应用加深,各家银行、上市券商、头部保险机构纷纷加大了对金融科技的布局力度,通过调整自身组织架构不断适应数字化转型需求的主要方向。
本文,我们盘点了58家银行、39家上市券商、14家头部保险机构的金融科技组织架构。

 
01
58家银行金融科技组织架构
01 六大国有银行组织架构 

 

据IT金英会不完全统计,六大行总部均成立了金融科技直辖一级部门(金融科技部或金融科技事业部)。

除了邮政储蓄银行没有成立金融科技子公司之外,其余5家银行均成立了金融科技子公司,分别为建设银行(建信金科)、农业银行(农银金科)、工商银行(工银科技)、交通银行(交银金科)、中国银行(中银金科)。这些金融科技子公司也成为银行系金融科技子公司的“主力军”。

工商银行

在多家银行中,工行在金融科技领域布局最广,在总行设立金融科技与数字化发展委员会,快速推动智慧银行战略转型,全面构建“一部、三中心、一公司、一研究院”的金融科技新布局。

 

 

农业银行

早在两年前,农行在雄安设立金融科技创新中心,开展金融科技前沿领域研究与应用推广。至此,农行完善了其“一局两中心一公司”的科技组织架构。

 

邮政储蓄银行
邮政储蓄银行在总行设立信息科技管理委员会,形成总行“三部两中心” IT 治理架构,为提升金融科技创新能力、实现数据同源同口径,为进一步向数据中台的演进打基础。
交通银行
交通银行在总行层面成立了金融科技部门,负责制定全行金融科技的发展战略、总体目标、基本策略,定位成金融科技顶层设计机构,下设金融科技创新研究院、金融科技部、数字化转型办公室。加速向市场输出金融科技能力,开拓基础性、前沿性技术及产品研发。
建设银行
建设银行在总行设立金融科技与数字化建设委员会,推动银行信息流数据打通、开放,通过金融科技技术打造行内共享服务体系,解决数据闭环、业务流程便捷度和灵活性,已成为未来银行数字化转型的核心竞争力。
中国银行
中国银行整合原有部门,信息科技管理委员会,将数字化基因植入个人金融业务全流程。
02  三家政策性银行组织架构 
国家开发银行:  在总行设立信息科技部,大力发展科技金融,服务创新驱动发展。
中国进出口银行:  总部设立信息技术委员会、信息科技部。
中国农业发展银行:  总部设立金融科技中心、软件开发中心、运行维护中心。
03  12家股份制银行组织架构 
在全国12家股份制商业银行中,均成立了金融科技相关部门,并且已有6家银行成立金融科技公司,分别为平安银行(平安科技、平安壹账通)、兴业银行(兴业数金)、光大银行(光大科技)、民生银行(民生科技)、招商银行(招银云创)、华夏银行(龙盈智达)。
招商银行:  加速向“金融科技银行”转型,首设金融科技委员会和信息技术管理委员会,推动全行金融科技工作,提高对市场变化的反应速度。
渤海银行:  设立信息科技委员会,并下设信息科技部,设立的金融科技部为总行直辖部门。目前,在科技条线,渤海银行已经形成了“三部门四委员会”。
广发银行:  在总部设立科技管理委员会、信息科技部、数据中心,建立科技业务合作伙伴机制,科技业务融合团队与业务部门合署办公,将科技服务、数据治理融合至日常工作。 
恒丰银行:  设立了金融科技部门,运营管理部门,由总行直接管理。还成立了“一院两办”:数字化敏捷转型工作领导小组,领导小组下设数字银行研究院、数字银行办公室和敏捷组织办公室,推动数字化转型和高质量发展。
华夏银行:  成立了信息科技管理委员会,除此之外还设置了三大攻关组:数字授信攻关组、数字智能风控技术攻关组、监管沙盒攻关组。
平安银行:  在IT板块设立了科技开发中心、科技运营中心、科技管理部,统筹推进集团数字化发展、金融科技、数据治理、信息科技风险管理体系建设等工作。
浦发银行:  在总部设立了信息科技部和网络金融部(移动金融部),并成立了覆盖人工智能、开源技术、5G应用等多领域的五大创新实验室,与国内外16家知名科技公司成立科技合作共同体。
民生银行:  早在2021年在总行成立了生态金融部一级部、数据管理部一级部,撤销了直销银行事业部。现在的组织架构中,在后台支持部门下设信息科技部推动业务发展。
兴业银行:  在总部设立数字化转型委员会,负责顶层的方向性统筹,在具体的技术支持上,从金融科技管理、运营、安全、数据等方面加以保障。
浙商银行:  已经建立了“金融科技部+科技公司+技术研究院”的金融科技管理架构,在杭州、西安两地设有研发基地。

 

光大银行:新设数据资产管理部、科技研发中心和智能运营中心,将形成“两部两中心”金融科技体系,推动业务、数据和技术三大中台能力建设。

 

 

中信银行:成立了科技运营中心、大数据中心、软件开发中心,由总部直属管理。

 

04  28家上市城商银行组织架构 
据不完全统计,在上市城商银行中,北京银行(北银金科)、廊坊银行(易达科技)、厦门国际银行(集友科技)三家城商银行成立了金融科技公司,28家城商银行设立了金融科技部门。
北京银行:  总部成立了数字金融部、信息科技管理部、软件开发中心、系统运营中心。
成都银行:  设立数字化转型委员会、信息技术管理委员会。
甘肃银行:  设立信息技术部,由总部直接管理。
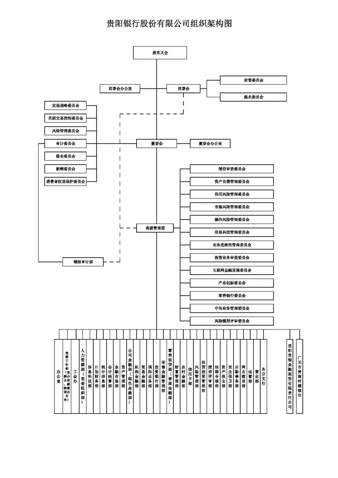
贵阳银行:  设立信息技术管理委员会、信息科技部门。
贵州银行:  设立信息技术部,下设运行保障中心和开发中心。
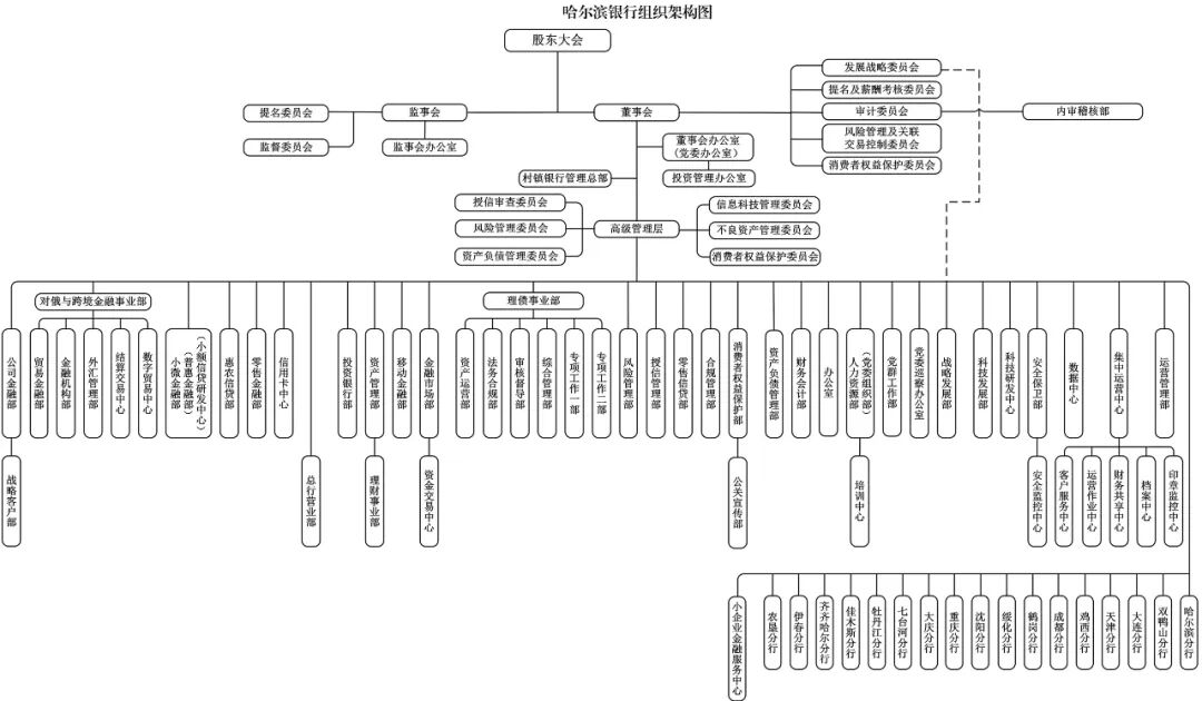
哈尔滨银行:  设立信息科技管理委员会、科技发展部、科技研发中心、数据中心。
杭州银行:  设立信息科技管理委员会、信息技术部。
徽商银行:  设立信息科技部、大数据部、系统研发部。
江苏银行:  设立信息科技部,网络金融部。
江西银行:  设立信息科技管理委员会、信息化委员会、信息科技部。
锦州银行:  设立信息科技发展委员会、信息技术部。
晋商银行:  设立信息科技管理委员会、信息科技部。
九江银行:  设立信息科技管理委员会、信息科技部。
兰州银行:  设立信息科技管理委员会、信息科技部。
南京银行:  设立信息技术部,数字银行管理部、科教创新园服务中心。
宁波银行:  设立信息科技管理委员会。
齐鲁银行:  设立互联网金融部、科技部。
青岛银行:  设立网络安全与信息技术委员会、信息技术部。
厦门银行:  设立信息管理委员会、信息技术部。
上海银行:  设立信息科技管理委员会、信息技术部(开发测试中心、数据中心)
盛京银行:  设立信息信息技术管理委员会、数字金融部、信息科技部。
天津银行:  设立金融高科技与数字化转型委员会、信息技术部。
威海银行:  设立信息科技委员会,科技信息部、网络金融部。
西安银行:  设立信息科技管理委员会、数字银行部、互联网金融部。
长沙银行:  设立金融科技部,下设开发中心、数据中心、网络金融部。
郑州银行:  设立信息科技管理委员会,数据管理委员会、信息科技部。
中原银行:  设立信息科技管理委员会、金融创新部、信息技术部。
重庆银行:  设立信息技术指导委员会、信息科技管理委员会、金融科技部(科技部、数字银行部)。
05  9家上市农商银行组织架构 
东莞农商银行:  设立信息科技管理委员会、数字金融部、信息科技部。
广州农商银行:  设立科技金融委员会、金融科技部(研发中心、运维中心、数据管理中心)
江阴农商银行:  设立信息科技管理与创新委员会、科技管理部、科技研发中心。
九台农商银行:  设立信息科技委员会、信息科技部。
青岛农商银行:  设立信息科技部
瑞丰银行:  设立信息科技委员会、金融科技部。
上海农商银行  设立金融科技部(数据中心、开发测试中心)
无锡农商银行:  设立信息科技管理委员会、数字银行部、金融研发中心、科技开发部、科技管理部。
武汉农商银行:  设立信息科技委员会、信息科技部、科技金融中心、开发中心、运维中心。
重庆农商银行:  设立金融科技管理委员会、科技信息部、运营研发中心、金融创新中心。
02
39家上市券商金融科技组织架构盘点
近五年来,多家券商持续推进数字化转型工作,根据业务场景调整自身组织架构,不断进行科技创新,利用科技赋能企业数字化转型,以下详细介绍39家上市券商金融科技板块组织架构设置情况。
财达证券:  设立数字金融部、信息技术中心(安全管理部)、金融科技部。
财通证券:  设立系统运维部、网络金融部、金融产品部、金融科技研发部。
东北证券:  在管理支持部门下设设立信息技术部,在经济业务管理部门下设金融产品条线、金融科技条线,在经营机构部门下设金融创新业务部。
东方证券:  设立互联网金融总部、系统运行总部、系统研发总部。
东吴证券:  设立网络金融事业部、信息技术总部。
东兴证券:  设立信息技术治理委员会、下设金融创新部、信息技术部、网络金融部、协同发展部。
方正证券:  设立互联网金融研究院、信息技术管理部、金融科技工程院。
广发证券:  设立IT治理委员会、信息技术部。
国海证券:  设立创新金融部、网络金融部、信息技术部、数智运营部。
国金证券:  设立信息技术部。
国联证券:  设立互联网金融部、信息技术总部。
国泰君安:  设立IT治理委员会、营运技术部。
国信证券:  设立金融科技委员会、技术管理部、金融科技部、系统运行总部。
国元证券:  设立网络金融部、信息技术部、金融科技部。
海通证券:  设立信息技术治理委员会、金融科技部、软件开发中心、数据中心。
红塔证券:  设立金融创新中心、信息技术中心、运维管理中心
华安证券:  设立互联网金融部、金融科技部、信息技术部。
华林证券:  设立科技金融条线,下设科技运营部、基础平台部。
华泰证券:  设立网络金融部、金融创新部、数字化运营部。
南京证券:  设立创新发展办公室、金融科技部、信息技术总部。
山西证券:  设立信息技术治理委员会、信息技术部、科技金融部。
申万宏源:  设立信息技术部。
太平洋证券:  设立网络金融部、信息技术部。
天风证券:  设立互联网金融部、系统运维部、数据金融部、业务创新部。
西部证券:  设立信息技术治理委员会、信息技术部、数字化转型办公室、网络金融部。
西南证券:  设立信息技术部。
信达证券:  设立信息技术中心、数字金融部。
兴业证券:  设立信息技术部、金融科技部、数智金融部。
粤开证券:  设立信息技术中心。
长城证券:  设立信息科技管理委员会、信息技术与金融科技部。
长江证券:  设立IT委员会、信息技术总部。
招商证券:  设立信息技术管理委员会、金融科技中心、科技创新办公室
浙商证券:  设立信息技术事业部,下设信息技术运保部、信息技术开发部。
中国银河:  设立数字金融中心、数据中心、信息技术部
中金公司:  设立信息技术部。
中泰证券:  设立金融科技委员会,下设信息技术管理部、科技研发部、大数据中心。
中信建投:  设立信息技术部。
中银证券:  设立数字金融委员会、信息科技管理委员会、金融科技部、信息技术部。
中原证券:  设立信息技术总部、网络金融部。
03
14家头部保司金融科技组织架构透视
近年来,科技的发展不断推动保险行业数字化转型,各家险企加快布局科技赛道,不断调整组织架构,便于快速适应市场环境,提高公司核心竞争力。
目前,已有头部险企成立了金融科技子公司,包括中国人保(人保科技、人保金服)、中国平安(平安科技)、中国太平(太平科技)、中国太保(太保科技)、众安保险(众安科技)等。
以下详细介绍各家保险集团金融科技组织架构。
大家保险集团:  设立信息科技中心。
大家保险集团是一家综合型保险集团。以科技创新打造专业保险服务管家,旗下搭伙保险APP已经成为集保险销售+培训+管理一体化的掌上工作台。
华泰保险:  设立信息技术部。
华泰保险集团是一家集财险、寿险、资产管理、基金管理于一体的综合性金融保险集团,该集团在云数智一体化平台、自动化报价平台、轻松筹区块链项目等方面具有丰富的创新实践经历。
泰康保险:  设立科技中心。
泰康保险集团是国内较早“触网”的传统险企之一,始终用科技赋能一线,至今已发展成为一家涵盖保险、资产管理、医养三大核心业务的大型保险金融服务集团。
新华保险:  设立产品研发部、信息科技部。
新华保险是一家全国性寿险公司,2019年起推出以科技赋能为支撑的“一体两翼+科技赋能”战略构想,以数字化转型推动公司高质量发展。
阳光保险:  设立科技中心,下设科技创新推动部、应用开发部、技术管理部、基础架构部、信息安全部、大数据与人工智能部、科技研究院。
阳光保险2022年12月上市,于2015年启动了“数据阳光”战略,2019年对组织架构进行了调整,成立了专门的科技中心。
友邦人寿:  设立信息技术部。
友邦人寿是泛亚地区最大的独立上市人寿保险集团,近年来一直致力于打造数字化服务平台,于2021年9月全新升级“友邦友享”APP,以数字科技赋能服务。探索出一条以" 产品 + 服务 " 转型为抓手的发展路径。
中国平安:  实施“科技+金融”战略,成立金融壹账通子公司,用科技去赋能平安体系之外的企业端、政务端的数字化转型。
中国人保:  设立科技运营部、保险科创实验室。
中国人保在金融科技板块持续投入,先后成立了人保科技和人保金服子公司,以科技价值创造引领新业务增长点。
中国人寿:  设立数据中心、研发中心。
作为金融央企,中国人寿投身“数字中国”建设,一直深耕金融科技领域,以数字化完善暖心服务,以智慧布局赋能数字金融,以金融创新服务国家战略。
中国太保:  设立科技运营中心,下设科技管理部、信息安全部。
2022年以来,中国太保加快公司数字化转型,搭建了全集团统一数据中台。同时确立了上海、成都两地三大数据中心的运营模式。
中国太平:  成立太平金融科技子公司。
2009年,中国太平成立太平金科子公司;2017年,中国太平成功部署集团私有云系统——太平云‘’,2021年,中国太平推动科技建设发展规划全面落地,借助全闪存应用,夯实数据基础设施,落地SD-WAN技术,让网络随应用而动。
中华保险:  设立信息科技部。
中华保险自主研发的原生分布式数据库降低了私有云的交付运维成本,实现了系统承接能力的飞跃。2020年与阿里全面合作打造新一代保险核心系统,双方在核心系统层面的合作,开启了保险行业数字化创新的先河。
中再集团:  设立信息技术中心。
作为我国唯一一家国有再保险集团公司,中再集团持续深化业务线上化、智能化,以双中台建设助力业务智能化发展,通过天玑智能云平台为健康保驾护航,基于双网融合推动行业数字化基础建设。
众安保险:  设立技术研发中心、数据科学应用中心、客户服务与体验中心。除此之外,特色部门有数字生活事业部、开放平台部,这显示了该公司以碎片化场景起家,链接众多流量平台的强大能力。
在数字经济时代,各家险企纷纷利用数字技术来不断提升自身的业务能力,这也是金融业竞争力的关键之一。
未来,头部保司该如何提升产品研发能力,以科技赋能业务数字化转型,我们将持续关注。


本文内容来源于IT金英会、自主可控新鲜事等

未经允许不得转载:RPA中国 | RPA全球生态 | 数字化劳动力 | RPA新闻 | 推动中国RPA生态发展 | 流 > 111家头部金融机构(银行、券商、保险)信息科技组织架构盘点

后台-系统设置-扩展变量-手机广告位-内容正文底部